Product Summary
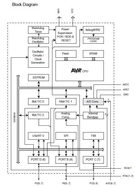
The ATMEGA48V-10AU is a kind of low-power CMOS 8-bit microcontroller based on the AVR enhanc RISC architecture. With powerful instructions in a single clock cycle, the ATMEGA48V-10AU achieves throughputs approaching 1 MIPS per MHz to optimize power consumption versus processing speed. It is available in 32-lead, Thin Plastic Quad Flat Package (TQFP) package.
Parametrics
ATMEGA48V-10AU absolute maximum ratings: (1)operating temperature: -55℃ to +125℃; (2)storage temperature: -65℃ to +150℃; (3)voltage on any pin except RESETwith respect to ground: -0.5 V to VCC+0.5 V; (4)voltage on RESET with respect to ground: -0.5V to +13.0V; (5)maximum operating voltage: 6.0V; (6)DC current per I/O pin: 40.0 mA; (7)DC current VCC and GND pins: 200.0 mA.
Features
ATMEGA48V-10AU features: (1)two 8-bit timer/counters with separate prescaler and compare mode; (2)one 16-bit timer/counter with separate prescaler, compare mode, and capture mode; (3)real time counter with separate oscillator; (4)six PWM channels; (5)8-channel 10-bit ADC in TQFP package; (6)programmable serial USART; (7)master/slave SPI serial interface; (8)byte-oriented 2-wire serial interface (Philips I2C compatible); (9)programmable watchdog timer with separate on-chip oscillator; (10)on-chip analog comparator; (11)interrupt and wake-up on pin change; (12)power-on reset and programmable brown-out detection; (13)internal calibrated oscillator; (14)external and internal interrupt sources; (15)five sleep modes: idle, adc noise reduction, power-save, power-down, and standby; (16)operating voltage: 1.8 to 5.5 V.
Diagrams

| Image | Part No | Mfg | Description | ![]() |
Pricing (USD) |
Quantity | ||||||||||||
|---|---|---|---|---|---|---|---|---|---|---|---|---|---|---|---|---|---|---|
![]() |
![]() ATmega48V-10AU |
![]() Atmel |
![]() 8-bit Microcontrollers (MCU) 4kB Flash 0.256kB EEPROM 23 I/O Pins |
![]() Data Sheet |
![]()
|
|
||||||||||||
![]() |
![]() ATMEGA48V-10AUR |
![]() Atmel |
![]() 8-bit Microcontrollers (MCU) AVR 4KB FLSH 256B EE 512B RAM-10MHZ 1.8V |
![]() Data Sheet |
![]()
|
|
||||||||||||
(Hong Kong)










